您现在的位置:首页 >> 联系我们

泥浆分离机

时期:2019/7/25 点击数:2101

泥浆分离机操作程序

操作程序 :启动:1、合上空气开关,接通主电源。2、按“筛启动”按钮,启动振动筛。3、储浆槽浆面度超过泵顶部后,按“泵启动”按钮,启动渣浆泵;同时观察压力表压力是否上升至规定值2.0~2.2kg/cm2。如果泵启动后压力表显示低于规定值,则应停机检查渣浆泵。4、为防止储浆槽淤积漫浆,应注意使反冲保持常开状态,尤其是钻机在覆盖层钻进时。 停止:1、停止反循环砂石泵的泥浆供应。2、让渣浆泵多运转一会儿,处理储浆槽内的剩余泥浆。3、按“泵停止”按钮,停止渣浆泵的运转。4、让脱水筛多运转一段时间,直到旋流器内空载为止。5、按“筛停止”按钮,停止振动筛的运转。6、长时间停机前,必须注入清水运转10分钟,用钢丝刷将筛板清理干净。7、打开储浆槽的放浆阀,将剩余泥浆清理干净。

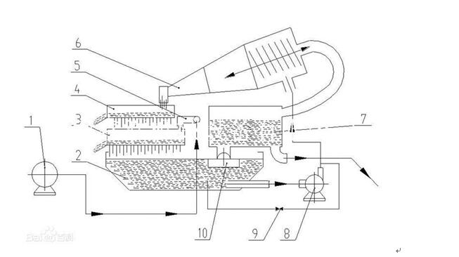
1–外置泵;2–蓄浆池;3–双层筛粗筛层; 4–双层筛细筛层;5–一级入料装置;6–旋流器;7–中储箱; 8–主机渣浆泵; 9–反冲控制阀; 10–内循环保护装置外置泵(液压螺杆泵)1将现场废浆池中的泥浆抽至振动筛粗筛层3 ,通过振动筛粗筛层3筛分过后,大于2mm以上的颗粒物将会排出,小于2mm的颗粒物会进入蓄浆池2内,此时主机渣浆泵8将蓄浆池2中的泥浆泵送至旋流器6中,经过旋流分离以后,绝大部分净化分离后的达标浆液,将从旋流器6的溢口流出并进入中储箱7中,旋流器6所分离出的废渣则通过其底流口排出,进入振动筛细筛层4上,通过其筛振实现对废渣的脱水并**终排除。中储箱7设有两个出液口,一个是补液口其位置处在蓄浆池2的上方,一个是排放口位置处于蓄浆池2与中储箱7连接以外的位置;内循环装置10就安装在中储箱7的补液口处,它可以通过平衡蓄浆池2中的液位高度实现中储箱7对蓄浆池2补液量的控制。当蓄浆池2不需要中储箱7补水时,中储箱7的补液口则被内循环装置10关闭,此时,中储箱7的排放口将处在连续排浆状态。反冲控制阀9通过一个三通与主机渣浆泵相连,三通通过管道连接,分别连接旋流器6和主机渣浆泵8以及蓄浆池2,其作用是利用主泵的富余流量,通过反冲控制阀9实现对蓄浆池2中泥浆的搅拌,防止泥浆在设备内沉淀。